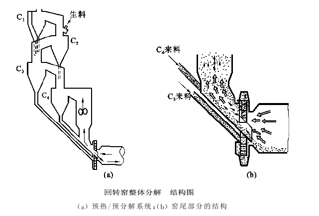
整體分解窯系統是在20世紀八十年代所研發出的一種新型的回轉窯窯外分解窯窯型。其結構如圖:它的工作原理,主要是將來自三級旋風筒的預熱生料,直接被送到回轉窯的窯尾所安裝的挖料裝置內,生料通過挖料勺的揚散,懸浮在大氣中,之后被從回轉窯出來的廢氣一同帶出回轉窯,并從上升煙道進到分解爐內參與碳酸鈣的反應,之后進入較下級旋風筒完成氣固的分離,另外還要將回轉窯的窯尾處的下料管出口那里把預熱或是預分解的生料送入回轉窯,整體的分解回轉窯系統的三次空氣都是全部都是要經過回轉窯的。

經過詳細的分析與了解,發現此窯型的較大特點在于其生產過程非常簡單,且建造投資方面很節儉,但是也有一定的缺點,其回轉窯的窯尾部的挖料裝置的結構較復雜,容易被高溫所侵蝕,不論是建造或是維修都很困難。因此還只是出于理論,并沒有真正得到應用。反而應用較為廣泛的還是FLS系列分解爐,其主要的應用特點為:
1、其操作起來比較方便,具有較強的適應性。都可以在滿負荷的25%或是40%下仍正常工作。
2、在點火的時候,回轉窯的啟動非常迅速。
3、在回轉窯的旁路放風裝置可以很輕易的安裝。
4、FLS系列的分解爐大多數還是屬于“噴騰”型,結構比較簡單,布局方便,其流動的阻力很小。
5、可以在FLS系統分解爐內一些低質燃料仍可以使用。
6、此分解爐在運轉中的NOx的排放相對比較少,對于環境的污染比較少。
由此可以看出,我們要想使新型分解窯系統得到實際應用,就要從以上幾個方面找出其不足之處,而后進行改進,只有這樣才更有利于回轉窯的運轉。
本文章由豫暉回轉窯網提供:http://www.gaosenjie.com/
回轉窯相關文章推薦:回轉窯預分解窯的生產流程